171




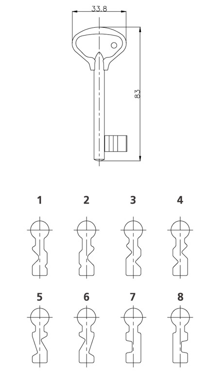
İÇ KAPI GÖMME KİLİT HAM ANAHTARI

Teknik Bilgiler

  • Anahtar:Özel zamak döküm Pirinç kaplamalı. 8 farklı profil.151 R , 151 RM , 151 RP , 141 , 150 BB kilitleri için.