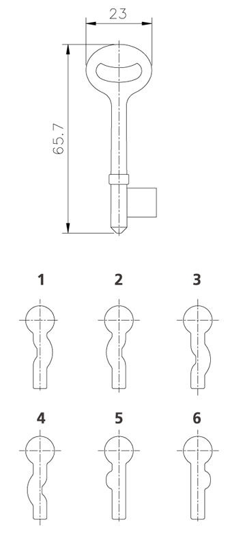
172 H




İÇ KAPI GÖMME KİLİT HAM ANAHTARI

Teknik Bilgiler

  • Anahtar. Özel zamak döküm.Pirinç kaplamalı.6 farklı profil. 32 değişik şifre.172 ve 172 E kilitleri için